• 91香蕉视频在线看,91香蕉在线免费观看,香蕉久久网,香蕉视频黄色网站

    歡迎來到河南省鞏義市91香蕉视频在线看管道廠官網!
    91香蕉在线免费观看節,91香蕉在线免费观看器,91香蕉在线免费观看接頭廠家,鞏義91香蕉视频在线看管道廠
    91香蕉在线免费观看節 1 2 3
    【91香蕉在线免费观看器係列】
    91香蕉在线免费观看器
    SSQ型鑄鐵91香蕉在线免费观看器
    球墨鑄鐵91香蕉在线免费观看器
    CS型熱力管道91香蕉在线免费观看器
    SF鋼製91香蕉在线免费观看器
    RS型柔性套管式91香蕉在线免费观看器
    SSQP兩端法蘭限位壓盤式伸...
    SQX-A型套管式91香蕉在线免费观看器
    SQX-B型套管式91香蕉在线免费观看器
    SQX-C型套管式91香蕉在线免费观看器
    【傳力接頭係列】
    傳力接頭
    VSSJAFG型單法蘭鬆套傳力接...
    VSSJAF型雙法蘭鬆套傳力接...
    VSSJAFC可拆式雙法蘭鬆套傳...
    CF型單法蘭鬆套傳力接頭
    C2F型雙法蘭鬆套傳力接頭
    CC2F型可拆式雙法蘭鬆套傳...
    北京傳力接頭
    上海傳力接頭
    天津傳力接頭
    【防水套管係列】
    防水套管
    不鏽鋼防水套管
    A型剛性防水套管
    B型剛性防水套管
    C型剛性防水套管
    02S404剛性防水套管
    02S404柔性防水套管
    07FS02剛性密閉套管
    07FS02柔性密閉套管
    人防地下室專用密閉套管
    【補償器係列】
    補償器
    TWB/ZTWB型注油式直流介質...
    非金屬補償器矽膠蒙皮
    JR型通用金屬軟管
    不鏽鋼波紋管
    QB型球型補償器
    直埋式波紋補償器
    軸向內壓式波紋管膨脹節
    軸向外壓式波紋管膨脹節
    橫向小拉杆波紋管膨脹節
    【橡膠接頭係列】
    橡膠接頭
    JGD單球體可曲撓橡膠接頭
    JGD型雙球體可曲撓橡膠接頭...
    KXT單球體可曲撓橡膠接頭
    KXT雙球體可曲撓橡膠接頭
    GJQ(X)-SF雙球體可曲撓橡膠...
    GJQ(X)-DF-II單球體可曲撓...
    防拉脫可曲撓橡膠接頭
    JGD-B可曲撓雙球體絲連接橡...
    風機盤管接頭
    【冷卷法蘭係列】
    冷卷法蘭
    內蒙古彎嘴鴨嘴閥供應廠家...
    寧夏卡箍式鴨嘴閥廠家
    山東卡箍式橡膠鴨嘴止回閥...
    安徽單向橡膠鴨嘴閥工作原...
    湖南單向橡膠鴨嘴閥工作原...
    沈陽法蘭式鴨嘴閥生產廠家...
    【91香蕉在线免费观看接頭係列】
    雙法蘭限位91香蕉在线免费观看接頭
    VSSJA-1型單法蘭限位91香蕉在线免费观看接...
    B2F型雙法蘭鬆套限位91香蕉在线免费观看接...
    BF型單法蘭鬆套限位91香蕉在线免费观看接...
    AY型壓蓋式鬆套91香蕉在线免费观看接頭
    SSJB-3(BY)壓蓋式鬆套限位...
    SSJB-2(BY)壓蓋式鬆套限位...
    焊接式91香蕉在线免费观看接頭
    SSJB(AY)型壓蓋式鬆套91香蕉在线免费观看...
    GFJH型雙法蘭鋼複接頭
    防水套管係列

    02S404柔性防水套管

    防水套管,又叫穿牆套管,穿牆管。柔性防水套管一般適用於管道穿過牆壁之處受有振動或有嚴密防水要求的構築物,套管部分加工完成後,在其外壁均刷底漆一遍(底漆包括樟丹或冷底子油)。防水套管分為剛性防水套管和柔性防水套管。兩者主要是使用的地方不一樣,柔性防水套管主要用在人防牆,水池等要求很高的地方,剛性防水套管一般用在地下室等管道需穿管道地位置。

    全國24小時銷售熱線:0371-64031268

    柔性防水套管是適用於管道穿過牆壁之處受有振動或有嚴密防水要求的構築物的五金管件,一般生產企業是根據建築科學研究院研製設計的S312、02S404標準圖集製造的。柔性防水套管穿牆處之牆壁,如遇非混凝土時應改用混凝土牆壁,而且必須將套管一次凝固於牆內;柔性防水套管施廣泛用於建築、化工、鋼鐵、自來水、汙水處理等單位。 
    剛性防水套管是鋼管外加翼環(鋼板做的環形套在鋼管上),裝於牆內(多為混凝土牆),用於一般管道穿牆,利於牆體的防水,而柔性防水套管除了外部翼環,內部還有檔圈之類的,法蘭內絲,有成套賣的,也可自己加工,用於有減震需要的管路,如和水泵連接的管道穿牆時。
    不管是柔性防水套管還是剛性防水套管都是用於管道穿過受有振動或有嚴密防水要求的建築物牆壁的五金配件,常用於建築、化工、鋼鐵、自來水、汙水處理等單位。
    剛性防水套管和柔性防水套管最直觀的不同,外觀上看就是不同的,柔性防水套管內部有橡膠止水環,如用在水池壁時防止漏水。它們安裝長度是不一樣的,柔性套管的標準長度是300mm而剛性套管的標準長度是200mm,但是它們有個共同點就是可以施工的需要任意加長或減短。

    02S404柔性防水套管說明:
    1、本圖尺寸均以毫米來計。
    2、柔性防水套管一般穿過牆壁之處受有振動或有嚴密防水要求的構築物。
    3、套管部分加工完成後,在其外壁均刷底漆一遍(底漆包括樟丹或冷底子油)。外層防腐由設計決定。
    4、套管穿牆之牆壁,如遇非混凝土牆壁時應改用混凝土牆壁,其澆注混凝土範圍應比翼環直徑( D6 )大 200mm ,而且必須將套管澆固與牆內。
    5、穿管處之混凝土牆厚應不小於 300mm 否則應使牆壁一邊加厚或兩邊加厚。加厚部分的直徑最小應比翼環直徑( D6 ) 200mm
    6、套管的材料重量是按牆厚 L 值為 300mm 應另行計算。
    7、套管部件焊接材料,用 A3 材料製作, T42 焊接。

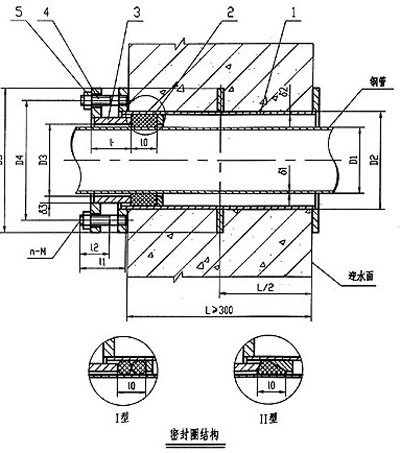
    I型柔性防水套管說明:
    1、當迎水麵為腐蝕性介質時,可采用封堵材料將縫隙封堵。
    2、套管穿牆處如遇非混凝土牆壁時,應局部改用混凝土牆壁,其澆注範圍應比翼環直徑(D5)大200,而且必須將套管一次澆固於牆內。
    3、穿管處混凝土牆厚應不小於300,否則應使牆壁一邊加厚或兩邊加厚,加厚部分的直徑至少為D5+200。
    4、套管的重量以L=300計算,如牆厚大於300時,應另行計算。

    II型柔性防水套管說明:
    1、柔性填料材料:瀝青麻絲、聚苯乙烯板、聚氯乙烯泡沫塑料板。
    2、密封膏:聚硫密封膏、聚胺脂密封膏。
    3、套管穿牆處如遇非混凝土牆壁時,應局部改用混凝土牆壁,其澆注範圍應比翼環直徑(D5)大200,而且必須將套管一次澆固於牆內。
    4、穿管處混凝土牆厚應不小於300,否則應使牆壁一邊加厚或兩邊加厚,加厚部分的直徑至少為D5+200。
    5、套管的重量以L=300計算,如牆厚大於300時,應另行計算。

    技術參數:

    02S404柔性防水套管質量要求

    名稱

    標準

    橡膠密封圈的硬度、
    物理性能、質量、
    尺寸和公差及檢驗

    HG/T3091:2000

    金屬表麵生鏽處理

    GB8923-88/標準中的ST3

    02S404柔性防水套管主要尺寸、重量表

    DN D1 D2 D3 D4 D5 I 10 I1 I2 D1 D2 D3 n-M A型重量(kg) B型重量(kg)
    I型 Ⅱ型 I型 Ⅱ型 I型 Ⅱ型
    50 60 95 65 145 200 65 28 - 72 30 3.5 4 8 4-M12 14.40 - 14.60 -
    65 76 114 80 165 220 65 28 25 72 30 3.75 4 8 4-M12 16.89 17.07 17.18 17.35
    80 89 127 95 180 235 65 28 25 76 38 4 4 10 4-M16 21.12 21.31 21.42 21.61
    100 108 146 114 200 255 65 28 25 76 38 4 4.5 10 4-M16 24.37 24.58 24.71 24.92
    125 133 180 140 235 290 65 28 25 76 38 4 6 10 6-M16 31.92 32.31 32.43 32.82
    150 159 203 165 260 315 65 28 25 76 38 4.5 6 10 6-M16 35.77 36.17 36.31 36.72
    200 219 265 226 320 375 65 28 25 76 38 6 6 10 6-M16 44.69 45.29 45.29 45.87
    250 273 325 280 380 435 65 28 25 76 38 8 8 10 8-M16 59.41 60.22 60.43 61.33
    300 325 377 333 435 495 72 28 30 90 46 8 10 10 8-M20 89.37 90.02 90.35 91.14
    350 377 426 385 485 545 72 32 30 90 46 10 10 10 8-M20 99.74 100.3 100.7 101.5
    400 426 480 435 540 600 72 32 30 90 46 1O 10 10 12-M20 114.0 114.8 115.3 116.4
    450 480 530 488 590 650 72 32 30 90 46 10 1O 10 12-M20 124.1 124.7 - -
    500 530 585 538 645 705 72 32 30 90 46 10 10 10 16-M20 139.3 140.5 - -
    600 630 690 640 755 820 75 32 30 104 54 10 10 12 16-M24 197.2 198.2 - -
    700 720 780 730 845 910 75 40 30 104 54 10 1O 12 20-M24 222.6 223.7 - -
    800 820 880 830 950 1020 80 40 40 117 60 10 10 12 20-M27 280.0 282.3 - -
    900 920 980 930 1050 1120 80 40 40 117 60 10 10 12 20-M27 309.6 312.2 - -
    1000 1020 1080 1030 1150 1220 80 40 40 117 60 10 10 12 24-M27 341.1 344.0 - -

    注:訂貨時注明管子外徑,大於DN1400、牆厚大於或小於300mm的產品可訂製加工。

    企業名稱:鞏義市91香蕉视频在线看管道廠 地 址:河南省鞏義市西村工業區 聯係人:龐經理 電話:0371-64031268
    手機:15617617287 / 15038001853 傳真:0371-64031728 E_mail:gyltgd@126.com 豫ICP備12019710號-5
    專業91香蕉在线免费观看節,91香蕉在线免费观看器,91香蕉在线免费观看接頭,管道91香蕉在线免费观看器,限位91香蕉在线免费观看器生產廠家 版權所有 :鞏義市91香蕉视频在线看管道廠
    網站地圖